新闻动态
KWZK江南官方站网页版_江南(中国)
网站首页
江南官方站网页版_江南(中国)
公司简介
在线反馈
联系我们
产品展示
全部
传感器/变送器
流量计系列
液位/料位系列
阀门/执行装置
液压/气动元件
检维修工器具
化验/分析仪器
其他机电仪产品
新闻动态
全部
行业知识
企业新闻
资料下载
客户案例
新闻动态
推荐
热门
最新
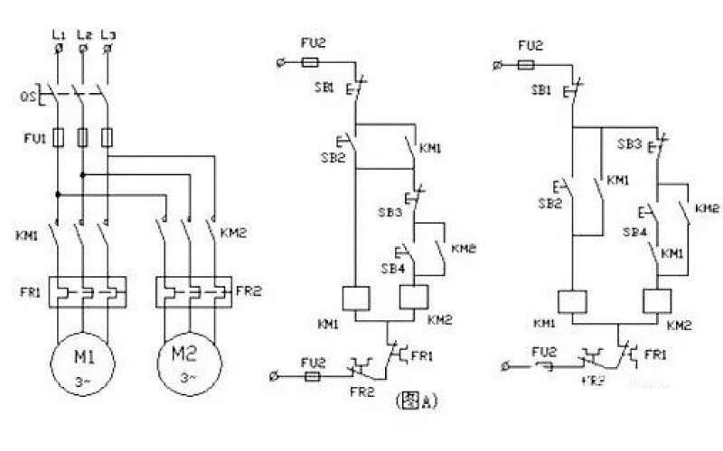
电动机控制线路故障查找方法
电动机控制线路故障查找方法
2023-02-06
江南官方站网页版_江南(中国)
上一页
1
下一页
转至第
首页
产品
新闻
联系
江南在线注册
|
MK在线平台(中国)官网
|
江南·体育(中国)JN官方网站
|
华亿平台
|
MK体育/mksport体育·官方网站
|
华亿网页版
|
【华亿体育电竞】(中国)有限公司
|
江南网页版
|
MK电竞
|